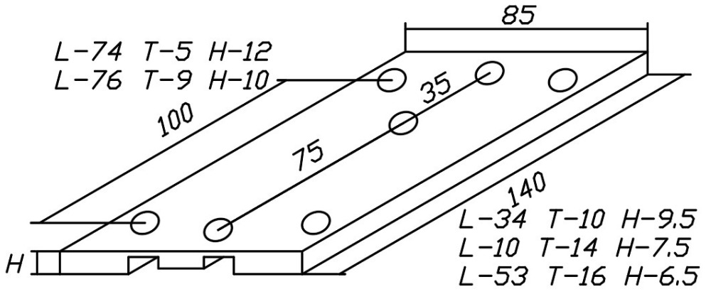
Вкладыш 140х83х10 Т-9 7 pin для лифта KONE, Wittur, Klemman, Sodimas Wellmax, ЕЛМ, ЩЛЗ 0411С.03.02.343
розница: 258 руб |
 |
опт: 246 руб |
Характеристики
- КМЗ+ЩЛЗ
- 0411С.03.02.343
- Кабина, Противовес
- Направляющая башмака/противовеса
- ТЭП
- в наличии
- L-76
Вкладыш 140х83х10 Т-9 7 pin для лифта KONE, Wittur, Klemman, Sodimas Wellmax, Евролифтмаш, ЩЛЗ 0411С.03.02.343